Our Innovations
We believe in protecting our hard work. Explore our current portfolio of patents and pending applications below.

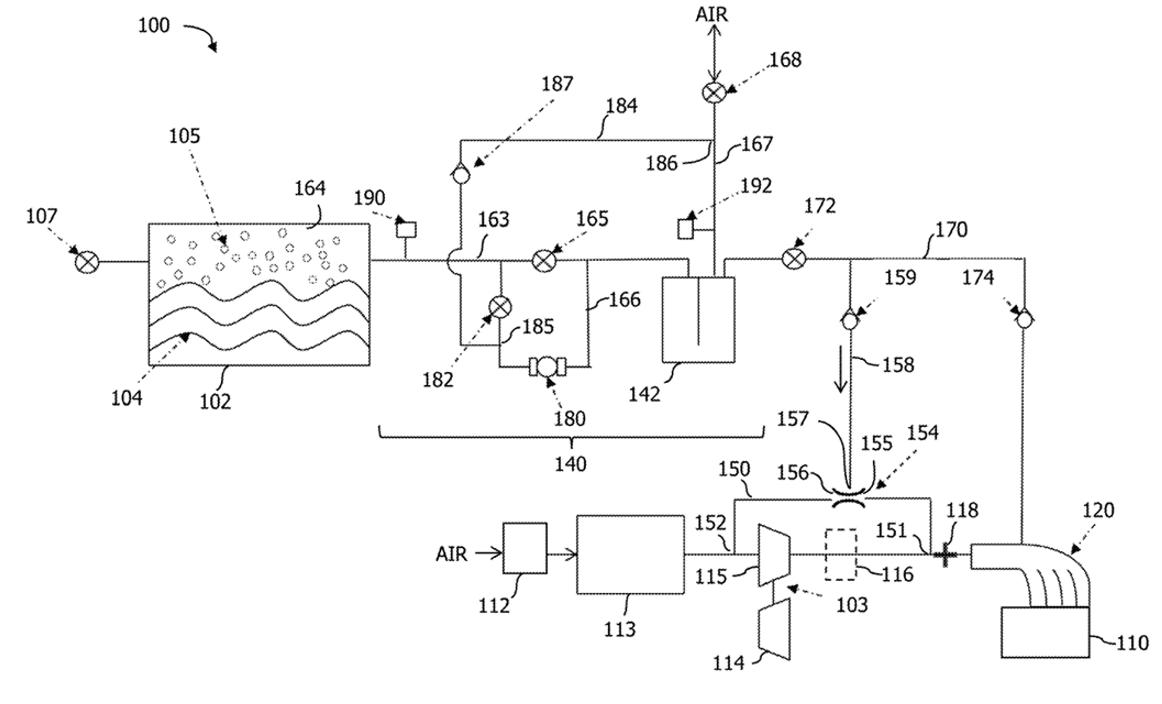
Fuel Tank Pressure Control Pump
Systems for hybrid electric engines have a fuel vapor canister (FVC) in fluid communication with (i) fuel vapor in a fuel tank with a refueling valve therebetween, (ii) an intake manifold with a canister purge valve therebetween, and (iii) atmospheric pressure (atm) with a canister vent valve (CVV) therebetween, a bypass loop around the refueling valve, and a pressure sensor upstream of both the refueling valve and the CVV. The loop has a control pump and a control valve controlling fluid communication with atm, and in a first mode, control valve and CVV open, pumps fuel vapor to the FVC for pressure control, then closes the control valve; in a second mode, control valve closed and CVV open, pumps atm to the FVC; and in a third mode, control valve and CVV open, pumps fuel vapor to the FVC to a pre-selected threshold to close the CVV.

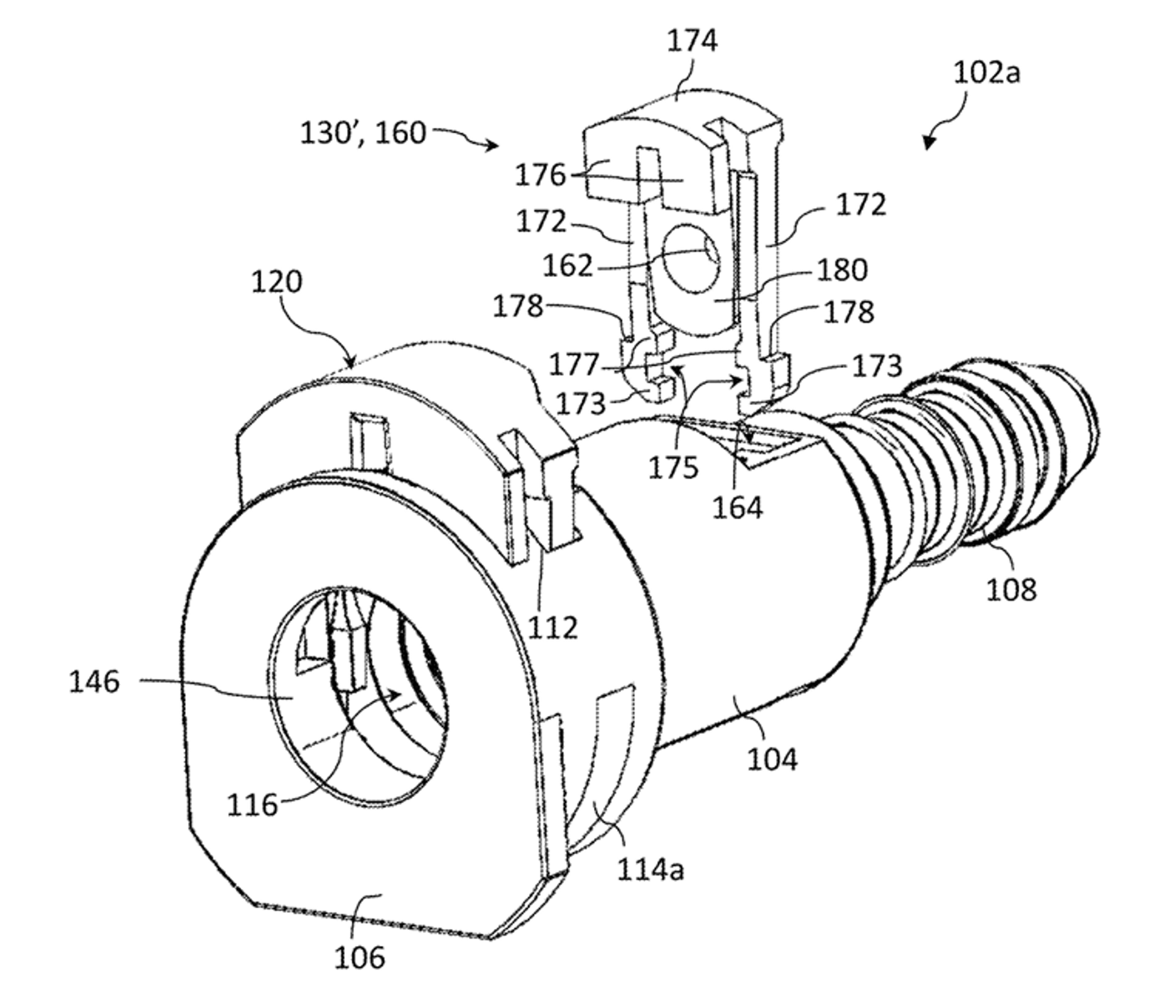
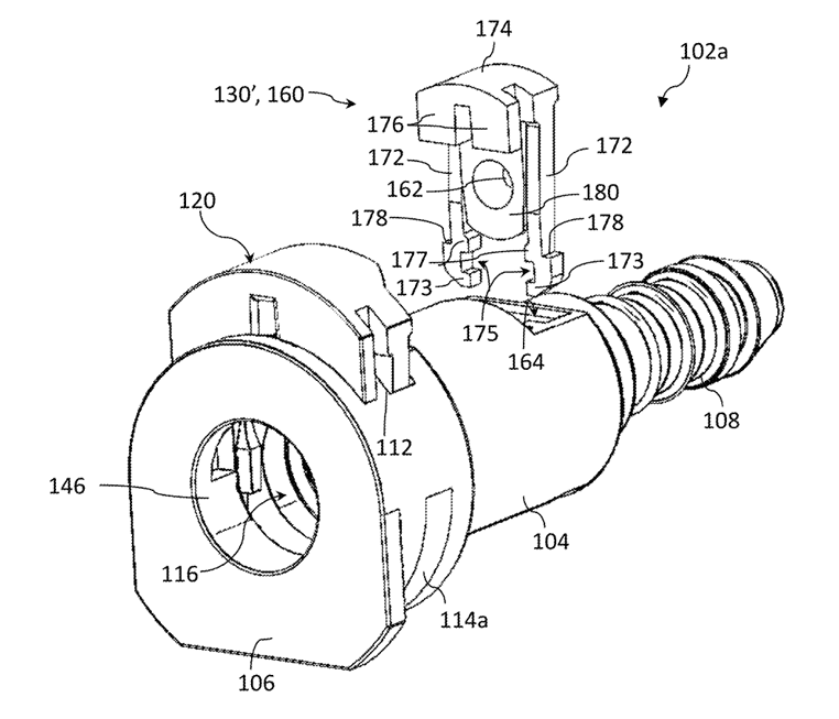
Three-Port Magnetically Latching Valve
Three-port latching valves have a housing with a first port, a second port, and a third port in controlled fluid communication with one another by three, individually electronically controllable magnetically latching valves for a combination of five different flow options. Each valve has a solenoid with an armature movable between an open position and a closed position, a poppet valve connected to the armature, a permanent magnet fixedly seated at a position for magnetically latching the armature in the open position, and a spring positioned to bias the poppet valve closed when the armature is in the closed position. The spring has a pre-selected spring rate that mechanically relieves pressure if the spring rate is exceeded. The armature is movable to the open position after a pulse of voltage to the solenoid and is in an unpowered state after translation to either of the open position or the closed position.

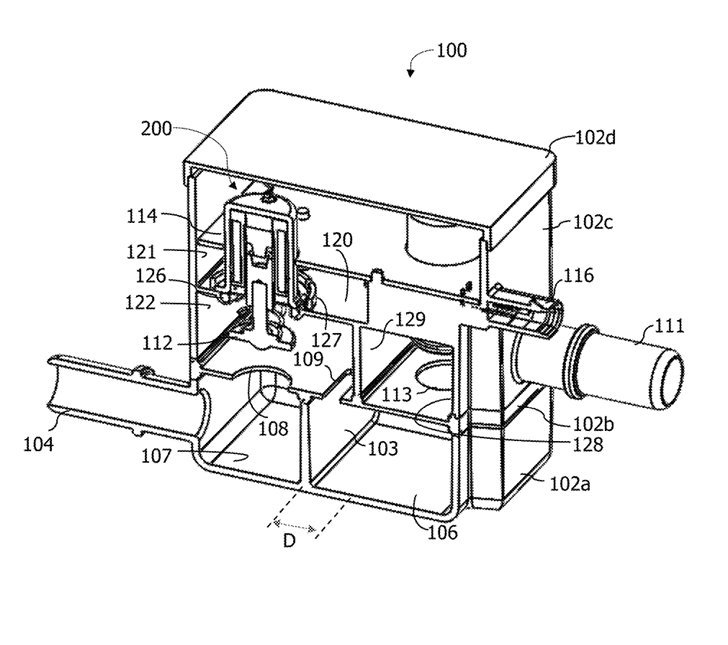
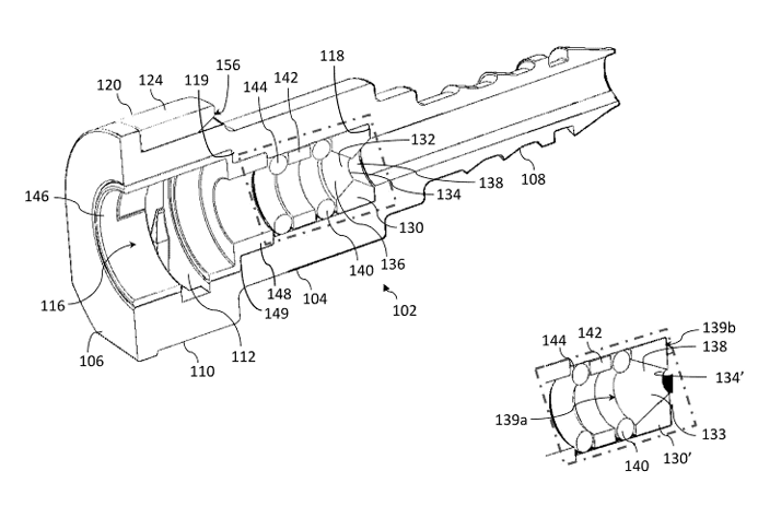
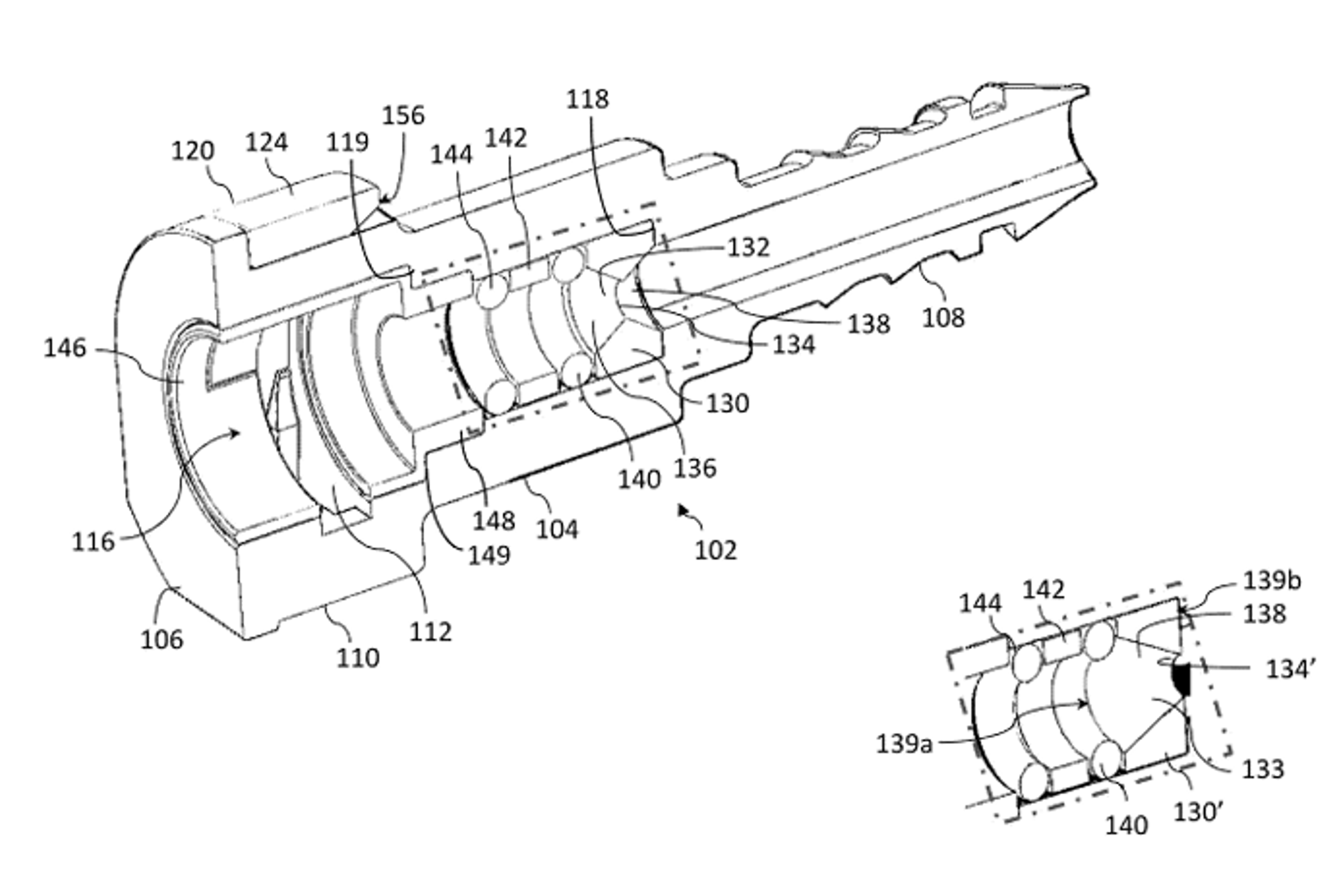
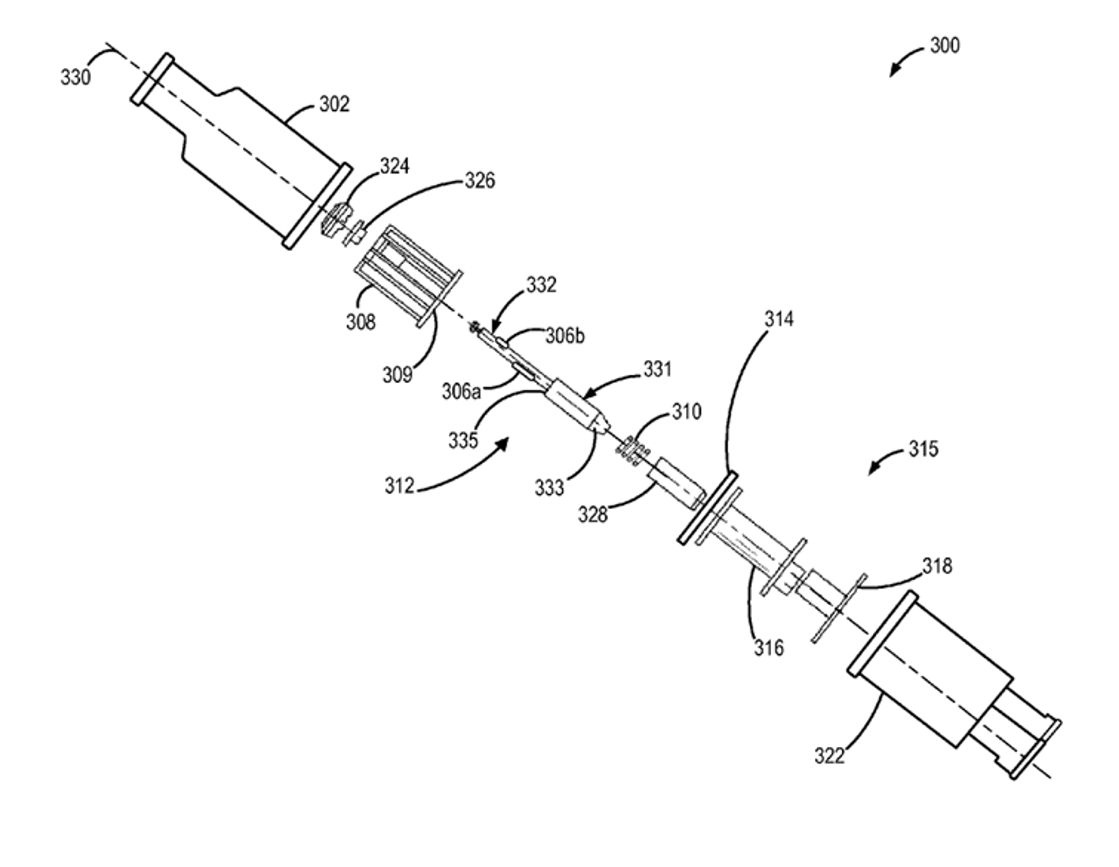
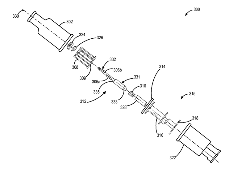
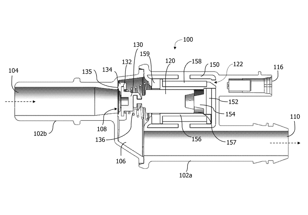
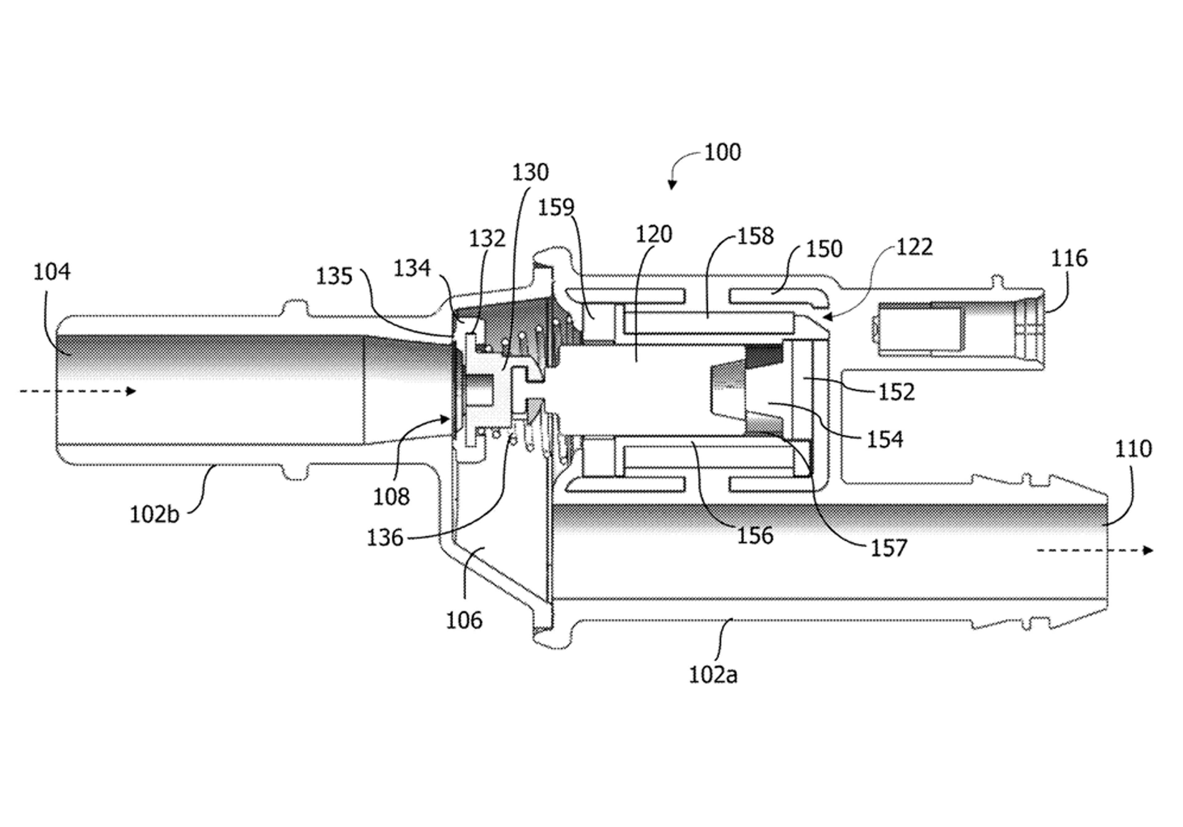
Quick Connector with Replaceable Internal Restriction Orifice
Female quick couplings have a housing defining an axial bore therethrough that has a frustum-shaped bore portion that defines a restriction orifice, a first slot transverse to the axial bore, an a first shoulder between the first slot and the restriction orifice, and a locking member slidingly received in the first slot. The frustum-shaped bore can have an upstream conical frustum and a downstream conical frustum mated at their respective smaller diameter. The upstream conical frustum has a largest diameter that is larger than a largest diameter of the downstream conical frustum. Engine systems incorporating the female quick coupling and female quick coupling kits are also disclosed.

Make-Up Air Blocking Valve With Restrictive Poppet Orifice
Valves, internal combustion engines including such valves, and methods of on-board diagnostic leak detection for a crankcase ventilation system using such valves are disclosed. Each valve has a housing defining a first port and a second port in fluid communication with one another and defining a valve seat therebetween. A biasing member biases a poppet sealing member into a normally open position (defining unrestricted flow through the valve) and a commanded actuator is connected to the poppet sealing member. The poppet sealing member has an orifice therethrough defining a restricted flow path, and, upon command, the commanded actuator moves the poppet sealing member from the open position to a restricted flow position in which the poppet sealing member is seated against the valve seat for restricted flow thorough the orifice in the poppet sealing member.

Magnetically Latching Valve for Fuel Vapor Management Systems
Magnetic latching valves have a housing with first and second ports in controlled fluid communication with one another. Enclosed within the housing is a linearly translatable armature within a solenoid. The armature is movable between open and closed positions and is connected to a poppet valve. A permanent magnet is fixedly seated at a position for magnetically latching the armature in the open position, and a spring is seated with a first end against the poppet valve and a second end against the housing. The spring biases the poppet valve closed when the armature is in the closed position and has a pre-selected spring rate that mechanically relieves pressure ifthe spring rate is exceeded. The armature is moved to the open position after a pulse of voltage to the solenoid and is in an unpowered state thereafter. Vehicle fuel refueling system are disclosed that include a magnetic latching valve.

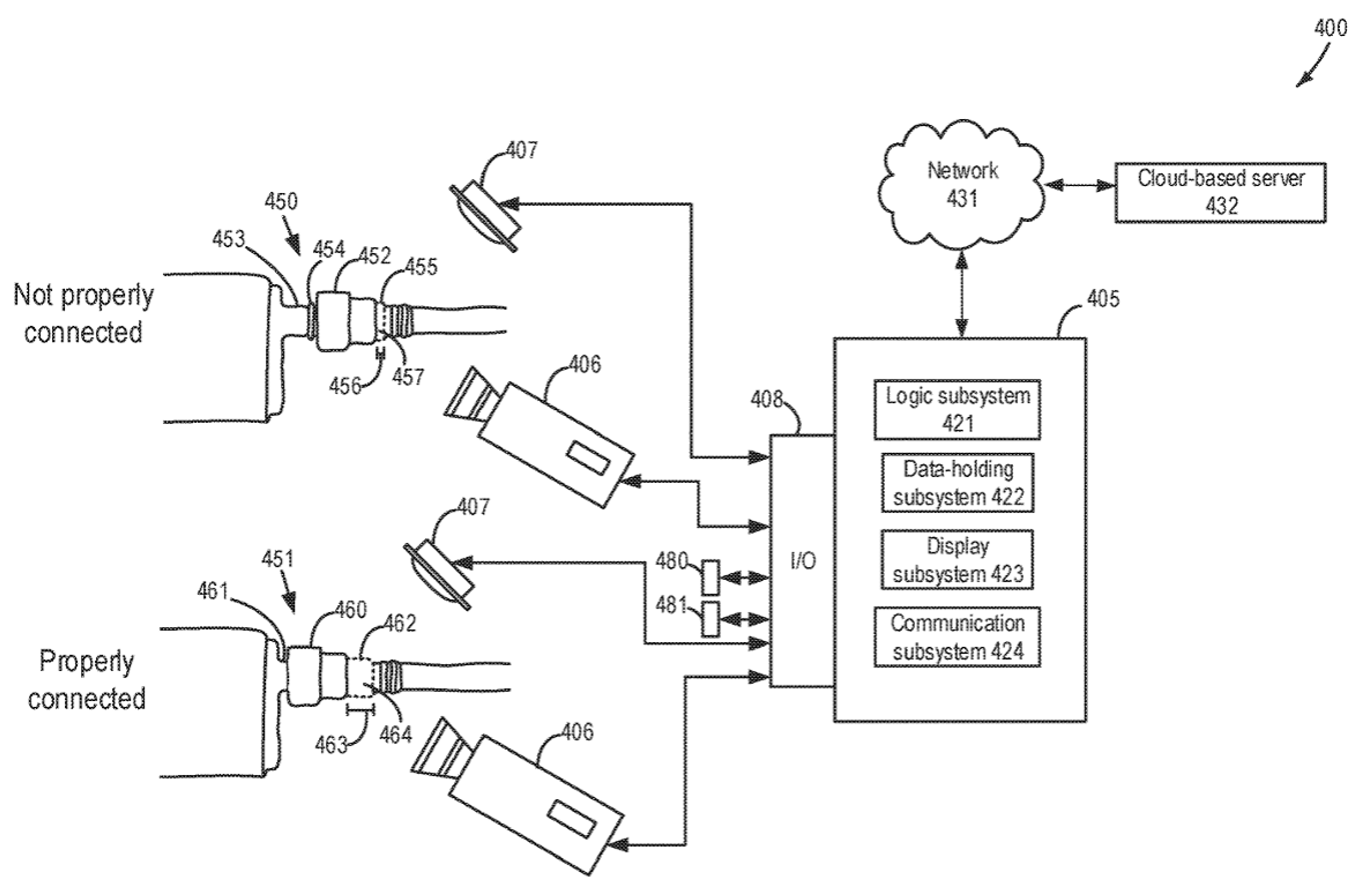
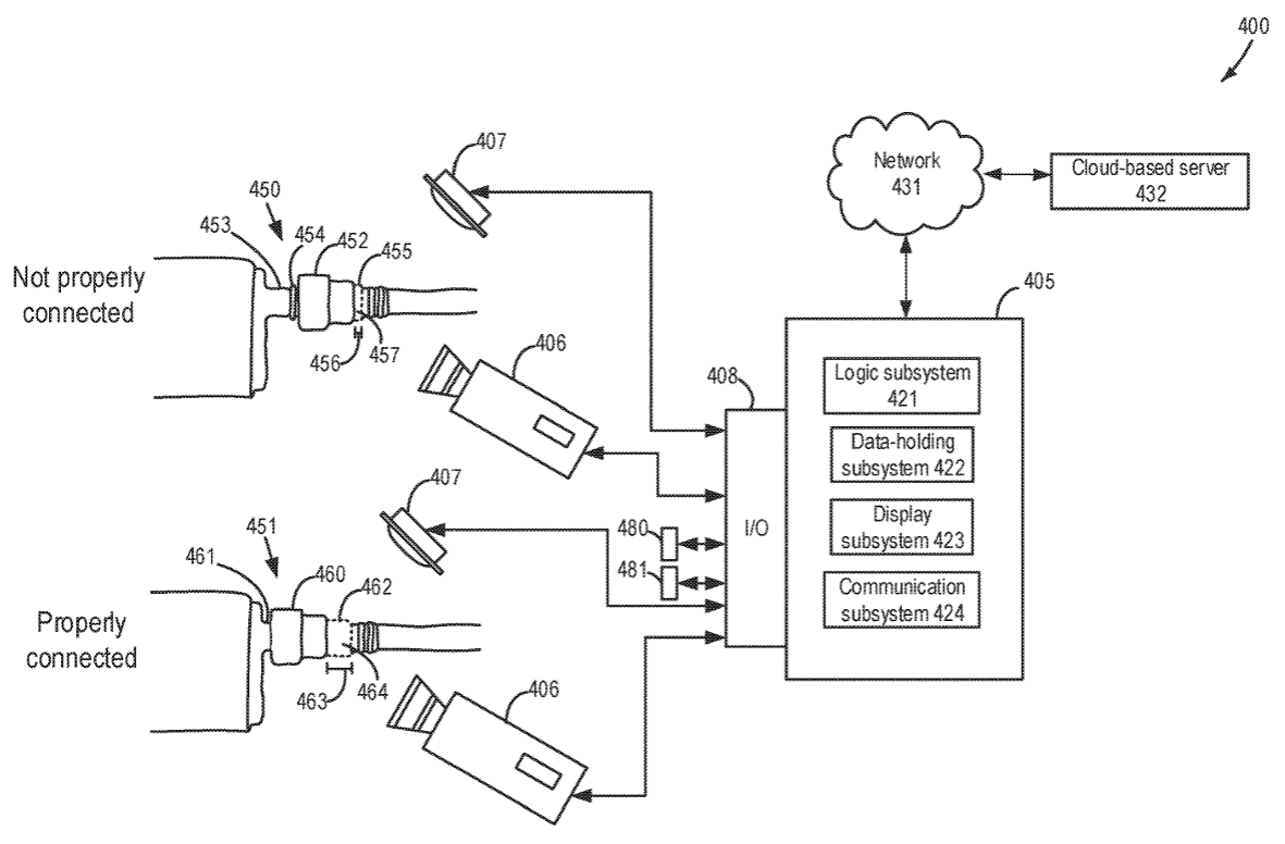
Determining Quick Connector Securement in Vehicle Evaporative Emissions
A quick connect fitting for coupling a first component of an evaporative emissions system of a vehicle to a second component of the evaporative emissions system is provided. In one example, the quick connect fitting includes an indicator section that includes a color-changing material that changes color based on an extent of deformation of the color-changing material, where secure coupling of the first component to the second component is dependent on the extent of deformation. In this way, it may be readily determined as to whether a particular quick connect fitting is securely connected, which may improve engine operation, reduce undesired emissions, and reduce warranty rates.

Latchable Refueling Valve
Methods and systems are provided for a latchable refueling valve designed to reduce noise associated with opening and closing the valve. In one example, a system may include a valve armature with first and second latch indices formed on an outer diameter of the armature. The latch indices may be rounded and configured to engage with a latch guide to enable rotation between the armature and the latch guide.

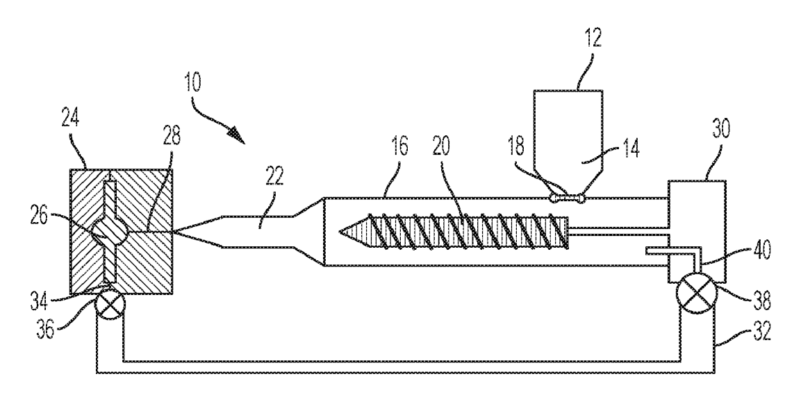
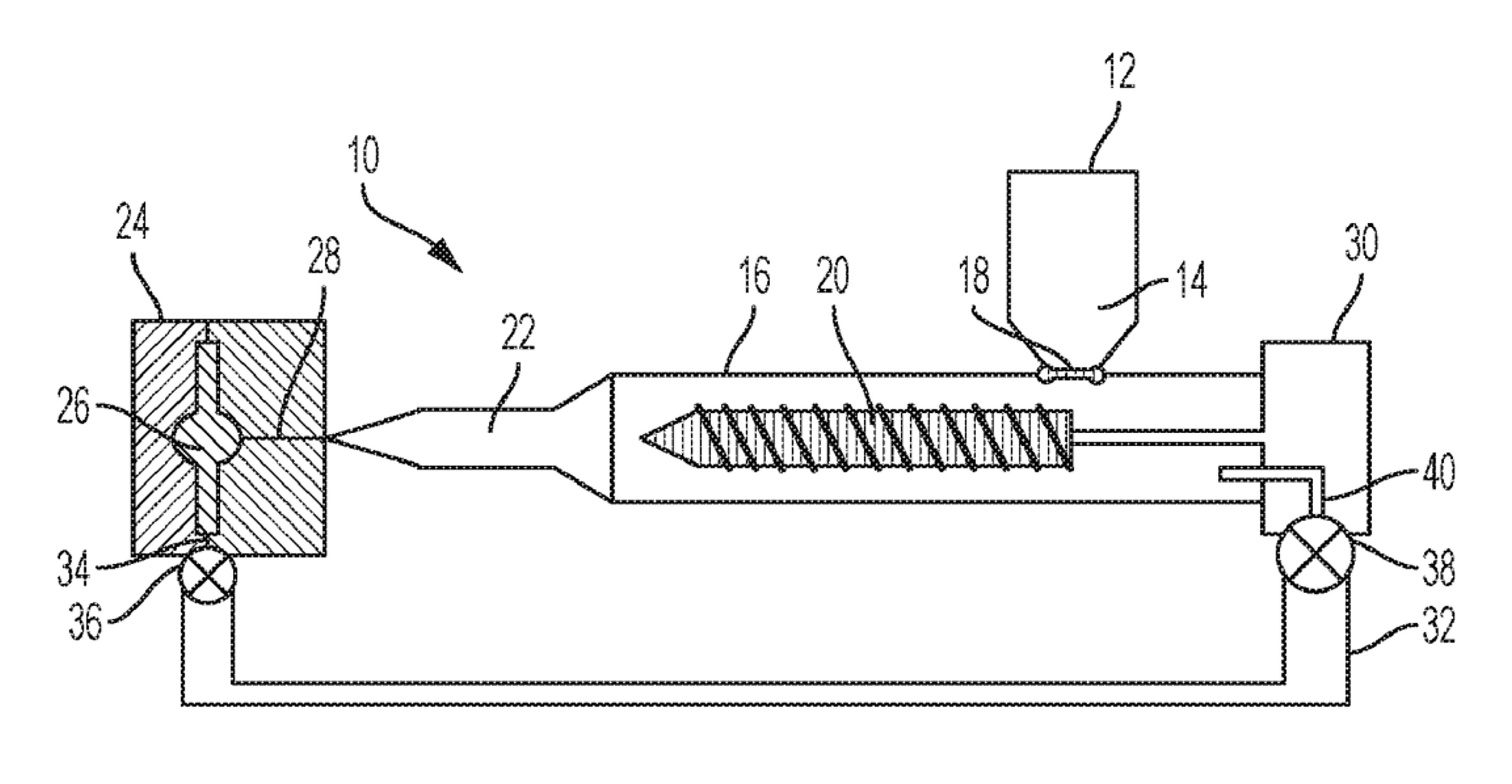
Injection molding pressure relief and assist
An injection molding system and method of operating the system are disclosed. The system may include a hopper, a barrel configured to receive injection material from the hopper, a screw disposed within the barrel, and a mold defining a mold cavity configured to receive the injection material from the barrel. A pressure-balancing conduit may connect the mold cavity and a rear end of the barrel and be configured to allow air to flow from the mold cavity to the rear end of the barrel. A mold valve may be disposed between the pressure-balancing conduit and the mold cavity and a barrel valve may be disposed between the pressure-balancing conduit and the rear end of the barrel. The method may include opening the mold valve and injecting a material into the mold cavity from the barrel.

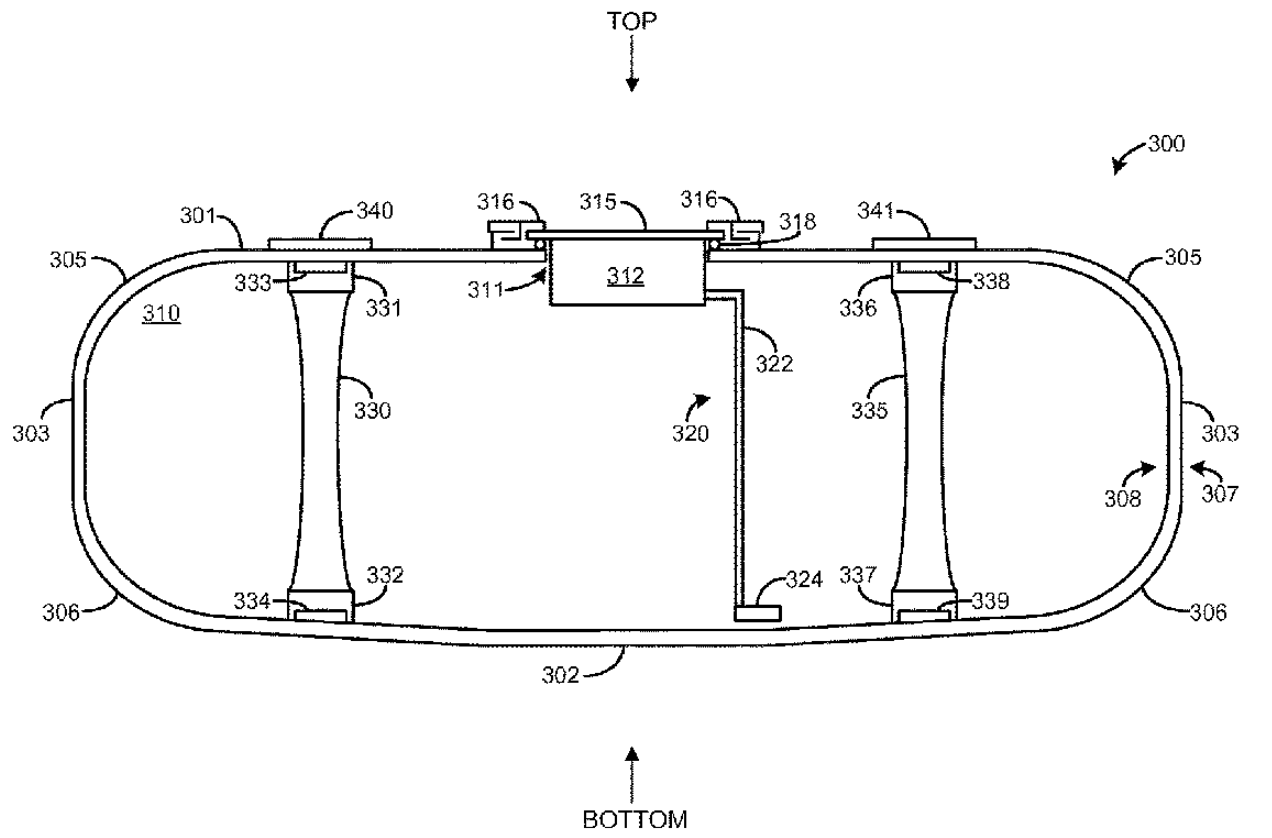
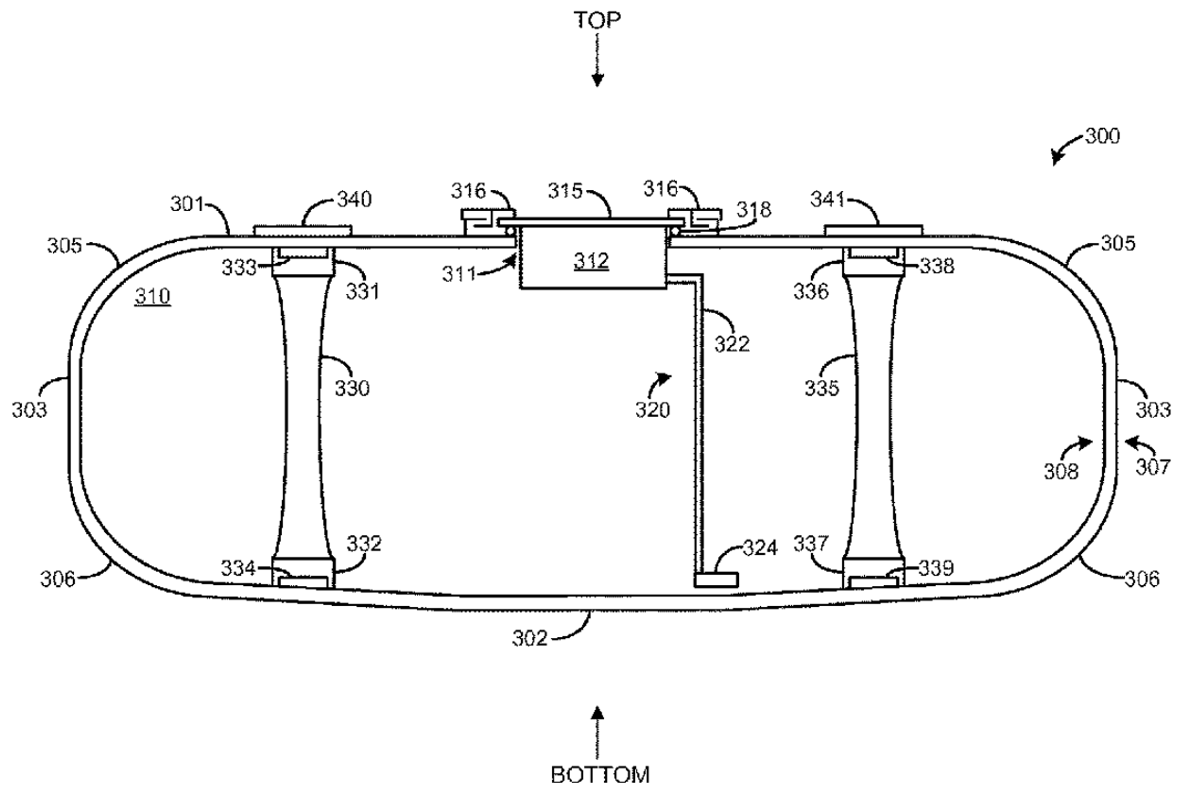
Integrity of Internal Fuel Tank Structural Supports
A fuel system comprises a fuel tank including at least a top wall, a bottom wall, and one or more stanchions positioned within the fuel tank, each stanchion coupled to the top wall and the bottom wall. A strain gauge is positioned on the outside of the fuel tank, opposite an intersection of a stanchion and the top wall, such that degradation of the stanchion results in results in pressure-dependent deformation of the fuel tank that is registered by the strain gauge. In this way, degradation of deformable fuel tanks, such as polymeric fuel tanks, may be diagnosed and indicated.

Quick Connector with Replaceable Restriction Orifice
Female quick couplings are disclosed that have a housing defining an axial bore having a first shoulder and a first slot transverse to the axial bore, a removable insert defining a restriction orifice seated against the first shoulder within the axial bore, and a locking member slidingly received in the first receptacle. The removable insert defines a restriction orifice having an upstream conical frustum and a downstream conical frustum mated at their respective smaller diameter. The upstream conical frustum has a largest diameter substantially similar to an internal diameter of the first sealing member and the downstream conical frustum has a largest diameter substantially similar to an internal diameter of the axial bore extending downstream of the first shoulder. The largest dimeter of the upstream conical frustum is larger than the largest diameter of the downstream conical frustum. Engine systems incorporating the female quick coupling are also disclosed.

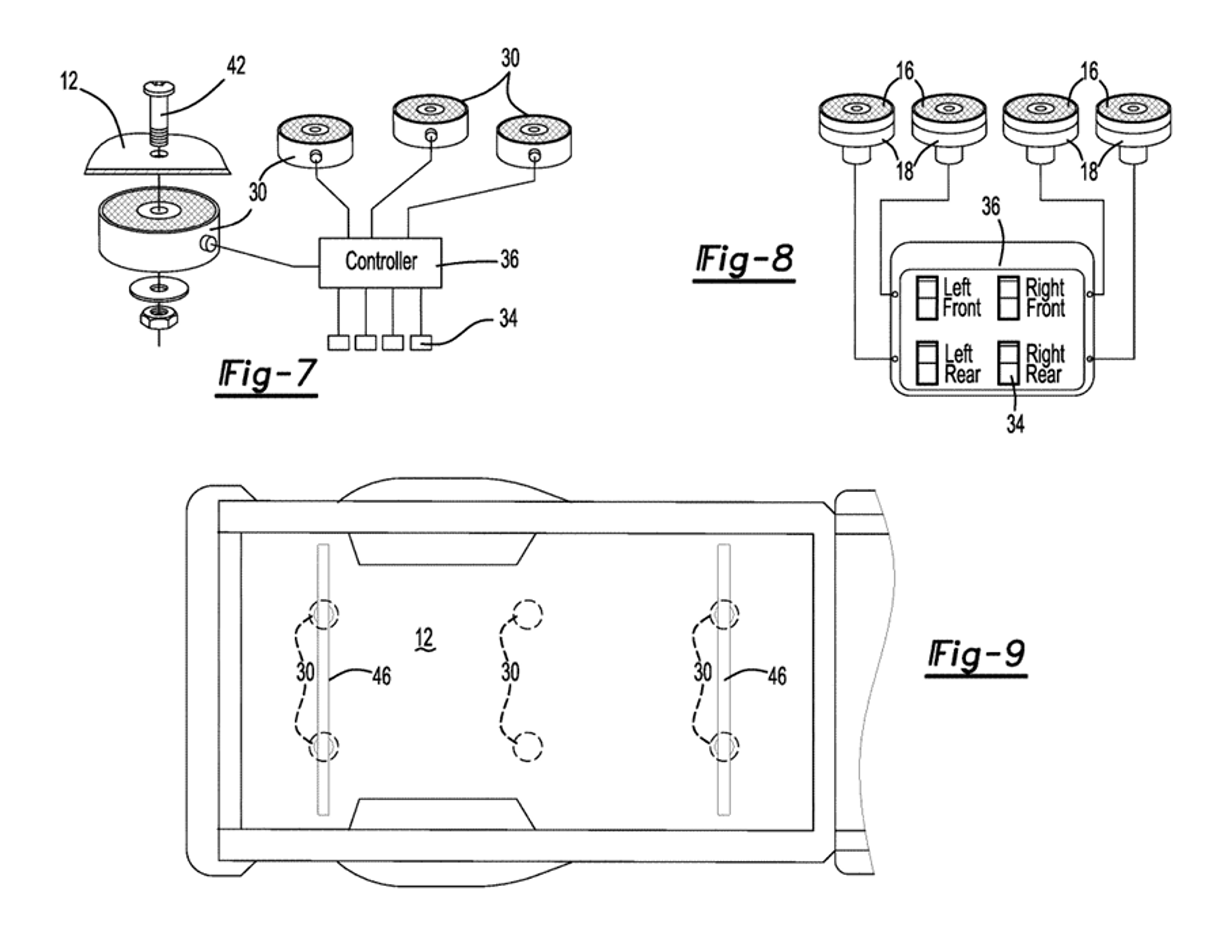
Truck Bed with Selectively Actuated Magnetic Floor Sections
A pick-up truck bed having controllably magnetized areas for retaining cargo or attachment devices. A first permanent magnet may be attached below the lower surface of the truck bed with a second permanent being rotatable relative to the first permanent magnet to control the magnetic flux provided to retain objects in the truck bed. Alternatively, one or more electromagnets may be provided that may be turned on to retain objects in the truck bed and turned off to allow removal of objects.

Vehicle Evaporative Emissions System Diagnostics
Methods and systems are provided for conducting a diagnostic routine of the fuel vapor system using pressure generated by raising or lowering a vehicle body element such as a hood or a trunk. In one example, by utilizing lift gate cylinders coupled to the hood or trunk, during raising a hood or trunk, the fuel vapor system may be evacuated and during lowering the hood or trunk, the fuel vapor system may be pressurized. A change in vacuum or higher pressure in the fuel vapor system may be monitored over a time period to detect any undesirable evaporative emissions from the fuel vapor system.

Truck Bed with Selectively Actuated Magnetic Floor Sections
A pick-up truck bed having controllably magnetized areas for retaining cargo or attachment devices. A first permanent magnet may be attached below the lower surface of the truck bed with a second permanent being rotatable relative to the first permanent magnet to control the magnetic flux provided to retain objects in the truck bed. Alternatively, one or more electromagnets may be provided that may be turned on to retain objects in the truck bed and turned off to allow removal of objects.

Magnetically Latching Valve
Magnetic latching valves for a vehicle engine have a housing having a first port and a second port in controlled fluid communication with one another. The housing encloses a linearly translatable armature seated within a solenoid and connected to a primary poppet valve. The armature is movable between an open position and a closed position, respectively, after a pulse of voltage to the solenoid and is in an unpowered state thereafter. A permanent magnet is fixedly seated in a position to magnetically latch the armature in a fully open position. A spring is seated to bias the primary poppet valve closed when the armature is in the closed position. The spring has a spring rate that mechanically relieves pressure by opening the primary poppet valve a distance less than the fully open position when the spring force is exceeded, thereby also allowing flow in the primary flow direction.

Truck Bed with Actuated Magnetic Floor Sections
A pick-up truck bed having controllably magnetized areas for retaining cargo or attachment devices. A first permanent magnet may be attached below the lower surface of the truck bed with a second permanent being rotatable relative to the first permanent magnet to control the magnetic flux provided to retain objects in the truck bed. Alternatively, one or more electromagnets may be provided that may be turned on to retain objects in the truck bed and turned off to allow removal of objects.

Intelligent Vehicle Evaporative Emissions Diagnostics
Methods and systems are provided for conducting tests for undesired evaporative emissions on a vehicle fuel system and evaporative emissions system. In one example, a method may include learning routes commonly traveled by the vehicle, including altitude changes and stop durations. and may further include diagnosing the fuel system and evaporative emissions system based on the learned altitude changes in one example, and may include diagnosing the fuel system and evaporative emissions system based on a learned stop duration in another example. By conducting tests for undesired evaporative emissions as a function of learned travel routes, completion rates for tests for undesired evaporative emissions tests may be increased, and the release of undesired evaporative emissions to atmosphere may be reduced.

Coordinating Remote Fuel Delivery
Methods and systems are provided for conducting remote refueling events of a passenger vehicle, and for coordinating said remote refueling events with a fuel tank fill level prior to the remote refueling event, a loading state of a fuel vapor storage device, and current and predicted fuel tank pressure. In one example, an amount of fuel that can be added to the fuel tank without overwhelming a capacity of the fuel vapor storage device is increased responsive to scheduling the remote refueling event to take place at a time when the fuel tank is at a negative pressure, thus resulting in partial purge of the fuel vapor storage device prior to commencing refueling. In this way, environmentally friendly refueling events may be enabled, thus reducing the potential for undesired evaporative emissions during refueling events.